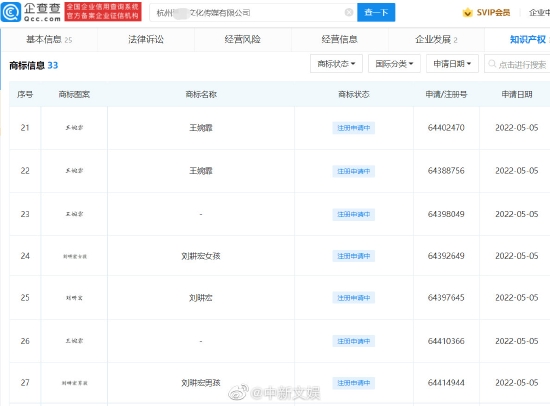
“毽子操”带红 “王婉霏”商标被抢注



(上海25日讯)台湾艺人刘畊宏一家移居上海,早前开直播带起“毽子操”风潮,每次直播时,他的老婆王婉霏也会跟着一起跳,王婉霏常常累得表情狰狞,成另类焦点,如今“王婉霏”竟被抢注成商标。
刘畊宏爆火后,不仅“刘畊宏”、“刘畊宏女孩”商标被多方抢注,刘畊宏妻子王婉霏的名字也被抢注成商标。据企查查APP显示,杭州某文化传媒公司申请了十多个“王婉霏”商标,申请日期均在今年5月5日,商标状态均为注册申请中。此外,该公司还申请了多个“刘畊宏”商标,商标状态也均为注册申请中。
ADVERTISEMENT
据悉,此前,企查查APP显示天赋星球(香港)有限公司抢注6个“刘畊宏”商标,国际分类涉服装鞋帽、方便食品、医疗园艺等,国际分类涉及健身器材的“刘畊宏”商标被福建某公司抢注。另据天眼查显示,“刘畊宏女孩”也被广西一公司申请注册,国际分类为日化用品。


ADVERTISEMENT
热门新闻
百格视频
ADVERTISEMENT
