张庭林瑞阳资本遭起底 网讶异:富可敌国



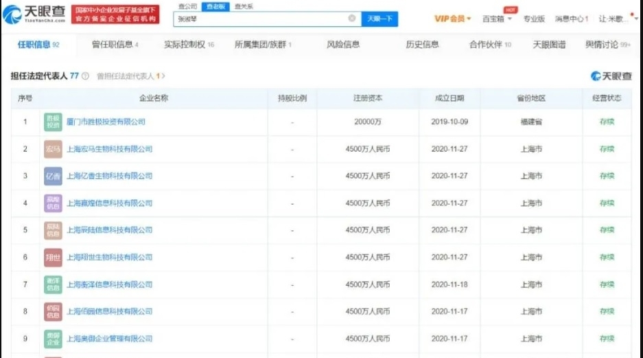
(北京2日讯)张庭、林瑞阳夫妇因不当传销调查,冻结大笔资产,官方决定本周五召开听证会,传出可能开罚夫妻俩百亿人民币(约6517万令吉)。两人在中国资本版图随后遭起底,张庭(本名张淑琴)在中国92家公司中,79家为存续状态,其中她担任67家的法定代理人、66家公司高管,还直接持股14家公司,网民看了都很讶异,感叹“百亿,微博真是越来越刷新我对金钱的认知”,甚至嘲讽“人家开公司比我们加个鸡蛋都容易”、“一辈子挣不到人家1天的”。
据天眼查App显示,张庭在中国92家关联公司中79家为存续状态,她更担任67家公司的法定代表人、66家公司的高管,并直接持股14家公司。这些企业多位于上海,涉及生物科技、房地产开发、商务咨询、贸易等行业。
ADVERTISEMENT
林瑞阳则是关联的72家公司中存续状态的有51家,此外,林瑞阳与张庭共同关联的企业还包括上海上阳天禧投资管理有限公司等。而张庭、林瑞阳夫妇与陶虹均也在上海达尔威贸易有限公司任职。陶虹直接关联的17家公司中15家为存续状态,包括上海达尔威贸易有限公司、海南省洋洋得意文化传播有限公司、北京真乐道投资管理有限公司等,版图涉及影视、传媒、贸易、投资等。


ADVERTISEMENT
热门新闻
百格视频
ADVERTISEMENT
