东莞巡唱撞正高考 张学友遭投诉要求延期



(东莞25日讯)“歌神”张学友《60+》巡演即将于8月返场吉隆坡。他原定6月6日起在中国东莞展开3场演唱会,但却碰上6月7日及8日是当地高考时间,因此相关部门接获不少投诉,要求演唱会延期。
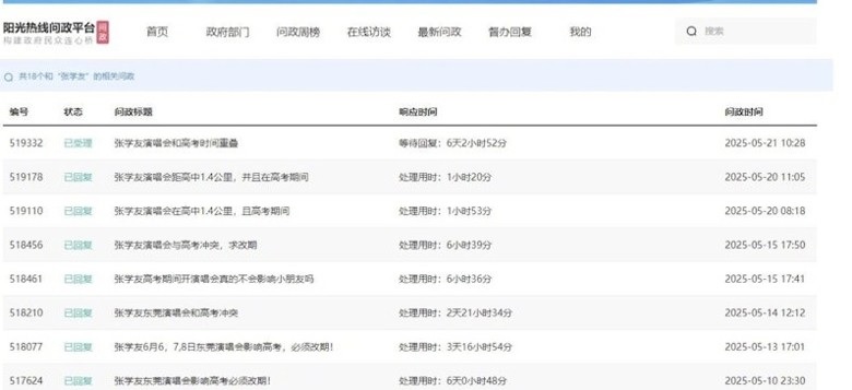
由于张学友的东莞演唱会和当地高考时间撞期,自10日以来,相关部门已接获不少投诉,指演唱会场馆和最近的高考考点只相差2公里,有父母担心届时会有交通阻塞、产生噪音及住宿等问题,认为考点附近开演唱会“违反高考公平公正的原则”,要求“必须改期”。不过,不少网民则持不同意见:“你觉得现在高考学生会听张学友的歌?”、“晚上也考吗?”、“愿闻其详”。
ADVERTISEMENT
对此,相关部门则表示,张学友演唱会和高考在同日的不同时段,而演唱会是在室内进行,音量不会影响学生备考,表示会做出相应措施疏导交通。


ADVERTISEMENT
热门新闻
百格视频
ADVERTISEMENT
